Helical Piles

Commercial Helical Pile Company Serving Fresno, San Francisco, San Jose & Nearby

Helical piles are a factory-manufactured steel foundation system consisting of a central shaft with one or more helix-shaped bearing plates, commonly referred to as blades or flights, welded to the lead section. Extension shafts, with or without additional helix blades, are used to extend the pile to competent load-bearing soils and to achieve design depth and capacity. Brackets are used at the tops of the piles for attachment to structures, either for new construction or retrofit applications. Helical piles are advanced (screwed) into the ground with the application of torque.

The terms helical piles, screw piles, helical piers, helical anchors, helix piers, and helix anchors are often used interchangeably by specifiers. However, the term 'pier' more often refers to a helical pile loaded in axial compression, while the term 'anchor' more often refers to a helical pile loaded in axial tension.

Design Considerations

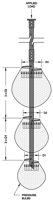
Helical piles are designed such that most of the axial capacity of the pile is generated through bearing of the helix blades against the soil. The helix blades are typically spaced three diameters apart along the pile shaft to prevent one blade from contributing significant stress to the bearing soil of the adjacent blade. Significant stress influence is limited to a 'bulb' of soil within about two helix diameters from the bearing surface in the axial direction and one helix diameter from the center of the pile shaft in the lateral direction. Each helix blade, therefore, acts independently in bearing along the pile shaft.

Multiple piles shall have a center to center spacing at the helix depth of at least four (4) times the diameter of the largest helix blade (ICC-ES AC358). The tops of the piles may be closer at the ground surface but installed at a batter away from each other in order to meet the spacing criteria at the helix depth. For tension applications, the uppermost helix blade shall be installed to a depth of at least twelve (12) diameters below the ground surface (ICC-ES AC358).

Supportworks Model 287 Helical Pile System

Technical Specifications

  • Outside Diameter (O.D.) = 2.875"
  • Wall Thickness = 0.203"
  • Pile Shaft Yield Strength = 60 ksi (min.)
  • Coupling Hardware: (2) ¾" Grade 8 Bolts with Nuts
  • Available Helix Blade Diameters = 8", 10", 12", and 14"
  • Helix Blade Thickness = 0.375"
  • New Construction Bracket: ¾" x 6" Square A36 Plate (for allowable compression capacities up to 60.0 kips)
  • New Construction Bracket Hardware: (2) ¾" Grade 8 Bolts with Nut

Bracket Specifications

  • Bracket: Weldment manufactured from 0.25", 0.375", and 0.50"-thick steel plate.
    Yield strength = 36 ksi (min.), tensile strength = 58 ksi (min.).
  • External Sleeve: 3.50" OD x 0.216" wall x 30" long with sleeve collar welded to one end.
    Yield strength = 50 ksi (min.), tensile strength = 62 ksi (min.).
  • Bracket Cap: 5.0" wide x 9.0" long x 1" thick plate with confining ring welded to one side.
    Yield strength = 50 ksi (min.), tensile strength = 65 ksi (min.).
  • All-Thread Rod: 0.75" diameter x 16" long, zinc plated. Grade B7, tensile strength = 125 ksi (min.).

-- View Our Helical Pile System Product Specifications document -

Supportworks Model 288 Helical Pile System

Technical Specifications

  • Outside Diameter (O.D.) = 2.875"
  • Wall Thickness = 0.276"
  • Pile Shaft Yield Strength = 60 ksi (min.)
  • Coupling Hardware: (2) ¾" Grade 8 Bolts with Nuts
  • Available Helix Blade Diameters = 8", 10", 12", and 14"
  • Helix Blade Thickness = 0.375"
  • New Construction Bracket: ¾" x 6" Square A36 Plate (for allowable compression capacities up to 60.0 kips)
  • New Construction Bracket Hardware: (2) ¾" Grade 8 Bolts with Nut

Bracket Specifications

  • Bracket: Weldment manufactured from 0.25", 0.375", and 0.50"-thick steel plate.
    Yield strength = 36 ksi (min.), tensile strength = 58 ksi (min.).
  • External Sleeve: 3.50" OD x 0.216" wall x 30" long with sleeve collar welded to one end.
    Yield strength = 50 ksi (min.), tensile strength = 62 ksi (min.).
  • Bracket Cap: 5.0" wide x 9.0" long x 1" thick plate with confining ring welded to one side.
    Yield strength = 50 ksi (min.), tensile strength = 65 ksi (min.).
  • All-Thread Rod: 0.75" diameter x 16" long, zinc plated. Grade B7, tensile strength = 125 ksi (min.).

-- View our Product Brochure and Helical Pile Specifications document -

Supportworks Model 350 Helical Pile System

Technical Specifications

  • Outside Diameter (O.D.) = 3.5"
  • Wall Thickness = 0.313"
  • Pile Shaft Yield Strength = 65 ksi (min.)
  • Coupling Hardware: (4) 1" Grade 8 Bolts with Nuts
  • Available Helix Blade Diameters = 8", 10", 12", and 14"
  • Helix Blade Thickness = 0.375"
  • New Construction Bracket: ¾" x 6" Square A36 Plate (for allowable compression capacities up to 60.0 kips)

Bracket Specifications

  • Bracket: Weldment manufactured from 0.25", 0.375", and 0.50"-thick steel plate.
    Yield strength = 36 ksi (min.), tensile strength = 58 ksi (min.).
  • External Sleeve: 3.50" OD x 0.216" wall x 30" long with sleeve collar welded to one end.
    Yield strength = 50 ksi (min.), tensile strength = 62 ksi (min.).
  • Bracket Cap: 5.0" wide x 9.0" long x 1" thick plate with confining ring welded to one side.
    Yield strength = 50 ksi (min.), tensile strength = 65 ksi (min.).
  • All-Thread Rod: 0.75" diameter x 16" long, zinc plated. Grade B7, tensile strength = 125 ksi (min.).

-- View Our Helical Pile System Product Specifications document -

Supportworks Model 450 Helical Pile System

Technical Specifications

  • Outside Diameter (O.D.) = 4.5"
  • Wall Thickness = 0.337"
  • Pile Shaft Yield Strength = 70 ksi (min.)
  • Coupling Hardware:  (4) 1‐1/8" Grade 8 Bolts with Nuts Finish
  • Available Helix Blade Diameters = 8", 10", 12", and 14"
  • Helix Blade Thickness =  ASTM A572 Grade 50 x 3/8" Thick
  • New Construction Bracket: ¾" x 6" Square A36 Plate (for allowable compression capacities up to 60.0 kips)

Bracket Specifications

  • Bracket: Weldment manufactured from 0.25", 0.375", and 0.50"-thick steel plate.
    Yield strength = 36 ksi (min.), tensile strength = 58 ksi (min.).
  • External Sleeve: 3.50" OD x 0.216" wall x 30" long with sleeve collar welded to one end.
    Yield strength = 50 ksi (min.), tensile strength = 62 ksi (min.).
  • Bracket Cap: 5.0" wide x 9.0" long x 1" thick plate with confining ring welded to one side.
    Yield strength = 50 ksi (min.), tensile strength = 65 ksi (min.).
  • All-Thread Rod: 0.75" diameter x 16" long, zinc plated. Grade B7, tensile strength = 125 ksi (min.).

-- View Our Helical Pile System Product Specifications document -

Helical Pile Capacities Summary
 

Maximum Allowable Mechanical Shaft Capacities (3,5)

 

Default Torque Correlation Factor (6) Kt (ft-1)

Maximum Installation Torque (ft-lbs) Maximum Ultimate Torque Correlated Soil Capacity (6,7)Qu = Kt X T
(kips)
Axial Compression (kips) Axial Tension (kips)

HA150

10

6,500

65.0(8)

26.5(1,8)

26.5(1)

HA175

10

10,000

100.0(8)

65.7(8)

53.0(1)

HP287

9

5,600

50.4

46.4(4)

23.6(2)

HP288

9

7,900

71.1

65.4(4)

34.1(2)

HP350

7

16,000

112.0

107.8(4)

62.5(5)

  1. Governed by AISC allowable capacity of single Ø3/4" (HA150) or (2) Ø3/4" (HA175) Grade 8 bolt(s) in double shear.
  2. Governed by bearing at the bolt holes.
  3. Capacities include a scheduled loss in steel thickness due to corrosion for black, uncoated steel. Scheduled thickness losses are for a period of 50 years and are in accordance with ICC-ES AC358.
  4. Allowable compression capacities are based on continuous lateral soil confinement in soils with SPT blow counts  ≥ 4.Piles with exposed unbraced lengths or piles placed in weaker or fluid soils should be evaluated on a case by case basis by the project engineer.
  5. Listed mechanical capacities are for the shaft only. System capacities should also not exceed the installed torquecorrelated capacity or those listed in the respective bracket capacity tables.
  6. Listed default Kt factors are widely accepted industry standards. They are generally conservative and are consistent with those listed in ICC-ES AC358. Site-specific K t factors can be determined for a given project with full-scale load testing.
  7. Soil capacities listed are ultimate values at maximum installation torque. Allowable soil capacity values are obtained by dividing the ultimate values by the appropriate factor of safety (FOS). FOS is most commonly taken as 2.0, although a higher or lower FOS may be considered at the discretion of the helical pile designer or as dictated by local code requirements.
  8. Square shaft piles may be considered for compression applications in soil profiles that offer sufficient continuous lateral support; e.g., in soils with SPT blow counts ≥ 10. Even in these higher strength soil conditions, buckling analyses should be considered, taking into account discontinuities and potential eccentricities created by the couplers

-- View Our Helical Pile System Product Specifications document --


Determination of Capacity

The ultimate capacity of a helical pile may be calculated using the traditional bearing capacity equation:

Qu = ∑ [Ah (cNc + qNq)]

Where:
Qu = Ultimate Pile Capacity (lb)
Ah = Area of Individual Helix Plate (ft2)
c = Effective Soil Cohesion (lb/ft2)
Nc = Dimensionless Bearing Capacity Factor = 9
q = Effective Vertical Overburden Pressure (lb/ft2)
Nq = Dimensionless Bearing Capacity Factor

Total stress parameters should be used for short-term and transient load applications and effective stress parameters should be used for long-term, permanent load applications. A factor of safety of 2 is typically used to determine the allowable soil bearing capacity, especially if torque is monitored during the helical pile installation.

Like other deep foundation alternatives, there are many factors to be considered in designing a helical pile foundation. Foundation Supportworks recommends that helical pile design be completed by an experienced geotechnical engineer or other qualified professional.

Another well-documented and accepted method for estimating helical pile capacity is by correlation to installation torque. In simple terms, the torsional resistance generated during helical pile installation is a measure of soil shear strength and can be related to the bearing capacity of the pile.

Qu = KT

Where:
Qu = Ultimate Pile Capacity (lb)
K = Capacity to Torque Ratio (ft-1)
T = Installation Torque (ft-lb)

The capacity to torque ratio is not a constant and varies with soil conditions and the size of the pile shaft. Load testing using the proposed helical pile and helix blade configuration is the best way to determine project specific K-values. However, ICC-ES AC358 provides default K-values for varying pile shaft diameters, which may be used conservatively for most soil conditions. The default value for the Model 288 Helical Pile System (2 7/8-inch diameter) is K = 9 ft-1.